Ramiona do podwieszania systemu VHD
Oznaczenie producenta: KVV 987 309
Karta produktu: Arcade Audio, KV2 Audio

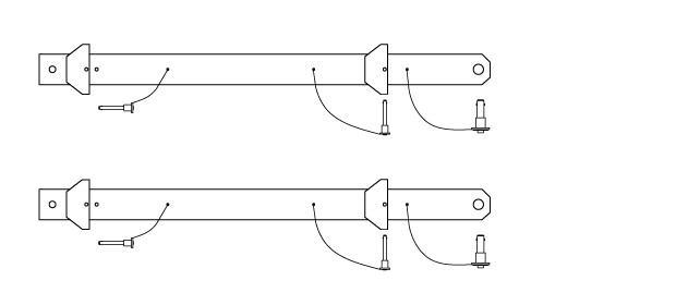
VHD2.0 TOP ARM to płaski stalowy profil z prostymi końcówkami, podwójnym złączem rowkowym na dolnym końcu i wstępnie przygotowanymi otworami do pinów zarówno D6 jak i D12.6 QUICK RELEASE PINS. Pojedynczy profil jest używany po każdej stronie obudowy. Do zablokowania uchwytów po obu stronach obudowy VHD2.0 używa się w sumie dwóch kątowych klinów, które są następnie zabezpieczane przez włożenie do każdego uchwytu pojedynczego pinu D6 QUICK RELEASE PIN, (które są przymocowane do prętów za pomocą małych, osłoniętych stalowych opasek). Po zamocowaniu VHD2.0 TOP ARMS do VHD2.0, są one po prostu mocowane do uchwytu wiszącego CROSS MEMBER poprzez wsunięcie pojedynczego pinu D12.6 QUICK RELEASE przez górny otwór obu VHD2.0 TOP ARMS i uchwytu wiszącego CROSSMBER.














